Exercices (html)
Résumé de section
CISAILLEMENT EXERCICES N° 1
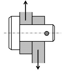
1- MONTAGE EN PORTE A FAUX

L’articulation ci-contre est composée de 2 barres de section rectangulaire 15x30, liées par un axe épaulé.
L’effort maximum supporté par cette liaison est de 10000N.
L’axe est conforme à la norme ISO 2341, réalisé en acier S255. Vous prendrez un coefficient de sécurité de 3.
- Tracez la ou les sections cisaillées en rouge sur le dessin.
- Calculez le diamètre mini de l’axe, puis choisissez un diamètre standard dans le tableau.


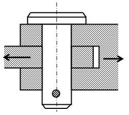
2- MONTAGE EN CHAPE

Sur cette articulation, l’axe doit supporter un effort de cisaillement de 15000N. Il est en S275, et vous prendrez un coefficient de sécurité de 2.
- Tracez la ou les sections cisaillées en rouge sur le dessin.
- Calculez le diamètre mini de l’axe, puis choisissez un diamètre standard dans le tableau.
CISAILLEMENT EXERCICES N° 2
1- POINÇONNAGE

On veut poinçonner un trou carré 10x10 dans une tôle de 3mm en acier dont la résistance au cisaillement est Rg=200Mpa.
- Calculez la surface cisaillée :
- Calculez l’effort minimum pour le poinçonnage :
- Calculez la contrainte de compression dans le poinçon :
- Calculez la limite élastique minimum pour ce poinçon avec un coefficient de sécurité de 2 :
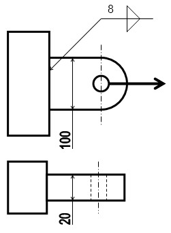
2- SOUDURE

Une patte de section 100x20 est assemblée par soudage sur un support suivant le dessin ci-contre.
Le métal d’apport a une résistance Rre de 150 Mpa.
- Calculez la section cisaillée:
- Calculez la résistance Rpg du métal d’apport :
- A quel effort peut résister l’assemblage :
- Recommencez le calcul en remplaçant les 2 cordons par un cordon périphérique a=5
CISAILLEMENT EXERCICE N° 3
CLAVETAGE

Caractéristiques de l’assemblage :
F Arbre Ø30
F Couple maxi à transmettre: 180Nm
F Matériau de la clavette: E295
F Clavette forme B

- Tracez sur le dessin du haut la force qui va cisailler la clavette
- Tracez sur la perspective ci-contre la section cisaillée
- Calculez la force de cisaillement
- Calculez la section minimum de cette clavette

- Recherchez dans le tableau la section normalisée pour ce diamètre
- Calculez la longueur minimum de la clavette