Enoncé Physique Chimie série C 2002
Résumé de section
-
Les sujets de Sciences Physiques
proposés au baccalauréat série C à Madagascar
BACCALAUREAT DE L’ENSEIGNEMENT GENERAL – MADAGASCAR
Série : C - SESSION 2002
Epreuve de : Sciences Physiques
Durée : 4 heures
EXERCICE DE CHIMIE (4 points)
I.- Une masse m = 1,38 g d’un mono alcool saturé A est oxydé complètement en acide carboxylique. On rappelle que le nombre de moles d’acide formé est égal au nombre de moles d’alcool oxydé.
1. Quelle est la classe de cet alcool A ? Justifier votre réponse.
2. L’acide carboxylique formé précédemment est dilué avec de l’eau pure pour former une solution (S1) de volume V = 500 ml. On prélève un volume VA =10 ml de la solution (S1), et on le dose avec une solution de soude, de concentration molaire CB = 0,04 mol.l–1. L’équivalence acido-basique est obtenue lorsqu’on a versé un volume VB = 15 ml de la solution de soude.
a) Calculer le nombre de moles d’acide carboxylique contenus dans la solution (S1).
b) Calculer la masse molaire de l’alcool A, écrire sa formule semi développée et donner son nom.
II.- On dissout n moles d’acide méthanoïque HCOOH dans 500 ml d’eau distillée. On obtient ainsi une solution (S2) de pH = 2,7 à 25°C. On négligera la variation de volume après la dilution. Le pKa du couple HCOOH / HCOO– est égal à 3,75.
1. Ecrire l’équation traduisant la réaction de l’acide méthanoïque avec l’eau.
2. a) Déterminer les concentrations molaires des espèces chimiques (autres que l’eau) présentes dans la solution (S2).
b) En déduire la valeur de n.
3. On veut préparer une solution tampon
de pH = 3,75 par la méthode suivante : on dissout une masse m d’hydroxyde de sodium (Na OH) solide dans la solution (S2). On néglige la variation de volume. Calculer m.
On donne : C = 12 g.mol – 1 ; Na = 23 g.mol – 1 ; O = 16 g.mol – 1 ; H = 1 g.mol – 1 ;
log 2
0,3 ; log 11,3
1,05
EXERCICE DE PHYSIQUE I (4 points)
Partie 1 : Physique nucléaire
1. Le nucléide cobalt
, utilisé en radiothérapie, est radioactif
– . Sa demi-vie radioactive est T = 5,3 années.
a) Ecrire l’équation traduisant cette désintégration.
b) Calculer, en année – 1, la constante radioactive
– de la réaction nucléaire.
2. Un échantillon contient une masse m0 =1g de
radioactif à la date t0 = 0s.
a) Calculer le nombre N0 de noyaux
radioactifs contenus dans l’échantillon à l’instant t0.
b) Calculer le nombre N1 de noyaux
radioactifs contenus dans l’échantillon à l’instant t1 = 1 année.
3. a)Définir l’activité radioactive A(t) d’un échantillon à la date t.
b) Calculer, en pourcentage, le rapport
.
On donne : e – 0,13
0,88 ; M
= 60 g.mol – 1 ; ln 2
0,69
Nombre d’Avogadro : N = 6,02.1023 mol – 1
Extrait du tableau de la classification périodique :
25Mn 26Fe 27Co 28Ni 29Cu
Partie 2 : Optique géométrique
1. Une lentille L1 convergente, de centre optique O1, a une vergence
C1 = + 10 (
= dioptrie). Un objet réel AB, de hauteur égale à 5 cm, est placé à 15 cm devant la lentille L1. Le point A est situé sur l’axe optique.
a) Calculer, par rapport à O1, la position de l’image A1B1 de l’objet AB, donnée par la lentille L1.
b) En déduire le grandissement 1 de la lentille L1.
2. On place après L1, une autre lentille divergente L2, de distance focale
= – 30 cm et de centre optique O2. Les axes optiques des deux lentilles se coïncident. La distance entre les centres optiques O1 et O2 est égale à O1O2 =20 cm.
a) Construire, à l’aide du document A, l’image A2B2 de l’objet AB donnée par le système des deux lentilles (L1, L2). On déterminera la position
et la hauteur de A2B2.
b) En déduire le grandissement
du système des deux lentilles (L1, L2).
EXERCICE DE PHYSIQUE II (4 points)
Entre deux points A et B, on relie en série, un conducteur ohmique de résistance
R = 12 , une bobine de résistance interne négligeable et d’inductance L et un condensateur de capacité C. On applique entre A et B une tension sinusoïdale en volt :
où U = 120 V ; la fréquence est égale à N. L’expression du courant instantané est :
; i(t) est exprimé en ampère (A).
1. On fixe L = 0,20 H ; C = 25 µF et N = 60 Hz.
a) Vérifier que l’impédance est Z Ä 33
b) Calculer l’intensité efficace I du courant.
c) Déterminer j 1.
2. On garde toujours les valeurs précédentes de N, C et L.
a) Calculer la tension efficace UAF entre A et F.
b) La tension instantanée entre A et F s’écrit :
(volts). Calculer j.
A R L C B
F E
PROBLEME DE PHYSIQUE (8 points)
On donne g = 10 m.s – 2.
On néglige les frottements et la résistance de l’air.
Mécanique
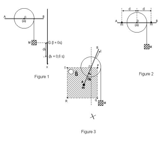
On considère un cylindre de centre O, de rayon r = 2,5 cm, pouvant tourner autour d’un axe (
) fixe, horizontal, perpendiculaire en O au plan de la figure. Une tige homogène AB, de longueur 2l = 40 cm, de milieu O, est fixée sur un diamètre du cylindre.
Un fil inextensible et de masse négligeable est enroulé sur le cylindre par l’une de ses extrémités. L’autre extrémité du fil supporte un corps ponctuel de masse M = 200g dont le déplacement vertical peut être repéré par l’axe (
). La masse M est abandonnée sans vitesse à l’instant t = 0s, et parcourt, d’un mouvement uniformément varié, la distance d1 = 20 cm pendant la durée t1 = 0,6 s (voir figure 1, page 3)
1. a) Calculer l’accélération a1 de la masse M.
b) Vérifier que le moment d’inertie du système (cylindre-tige) par rapport à l’axe (
) est J0
10 – 3 kg.m2.
2. On fixe sur la tige AB, symétriquement opposé par rapport à O, deux solides ponctuels ayant chacun une masse m = 100 g (voir figure 2, page 3).
a) Exprimer, en fonction de M, J0, m, g et d (distance entre une masse m et le centre O), la nouvelle accélération a2 du corps de masse M.
b) Montrer qu’en faisant varier d, la grandeur
est de la forme y =
X +
avec X = d2.
c) En déduire les valeurs des coefficients
et
.
d) Calculer l’accélération a2 pour d = 20 cm.
Electromagnétisme
On néglige le champ magnétique terrestre.
On considère le système (cylindre – tige AB – masse M) de la partie précédente. On fixe sur l’extrémité A de la tige une masse ponctuelle m = 100 g.
On suppose que seule la tige AB est conductrice du courant électrique. Un dispositif approprié (non mentionné sur la figure) permet de faire passer un courant constant d’intensité I de A vers B. Une partie de la tige est plongée dans un champ magnétique uniforme
d’intensité B = 0,5 T, délimité dans le plan par le carré PQRT, et dont le côté TP passe par le centre O de la tige AB.
est orthogonal au plan du carré (voir figure 3, page 3).
On donne M = 200 g ; 2l = 40 cm, r = 2,5 cm. On fait passer le courant dans la tige AB. Lorsque le système (S) = (cylindre – tige AB – masse M – masse m) est en équilibre, la tige AB fait un angle
avec la verticale.
1. Déterminer les forces dont les effets permettent au système (S) d’être en équilibre.
2. Calculer la valeur de l’intensité I du courant qui traverse la tige AB lorsque (S) est en équilibre.
